107
107
Предназначены для измерения температуры жидких и газообразных химически неагрессивных сред, а также агрессивных, не разрушающих материал защитного чехла.Рекомендуется применение в комплекте с гильзами защитными ЮНКЖ.
Датчики температуры без монтажных элементов при использовании с гильзами защитными рекомендуется устанавливать с помощью штуцеров ЮНКЖ 031 либо ЮНКЖ 029.
Модификация 107 имеет съёмный чувствительный элемент (ЧЭ), установленный в головке на подпружиненных винтах - ТСПТ 106-005.
Датчики могут иметь вид взрывозащиты 0ExiaIICT6 X или 1ExdIICT6 по ГОСТ 30852.10-2002.
В клеммную головку могут устанавливаться измерительные преобразователис унифицированным выходным сигналом постоянного тока 4-20 мА по ГОСТ 26.011 и (или) цифровым сигналом по протоколам HART, PROFIBUS-PA, FOUNDATION Fieldbus, а также кабельные вводы для дополнительной фиксации кабеля и при необходимости, металлорукава.
|
Схема соединений |
3-х проводная |
Класс допуска АА, А, В, С |
||
|
4-х проводная |
||||
|
Вибростойкость ГОСТ Р 52931 |
группа V3 |
|||
|
Номинальное (условное) |
6,3 МПа |
модификация 107 |
||
|
1 МПапри комплектовании штуцером ЮНКЖ 031 |
модификация 108 |
|||
|
Сейсмостойкость MSK-64 |
9 баллов при уровне установки над нулевой отметкой до 70 м |
|||
|
Климатическое |
УХЛ2.Температура окружающей среды: |
-60..+120ºС для изделий общего назначения |
||
|
-60..+85 ºС для исполнения Ex с аналоговым сигналом |
||||
|
-55..+85ºС для изделий с унифицированным выходным сигналом |
||||
|
Поверка |
- ГОСТ 8. 461-2009без измерительных преобразователей; |
|||
Группа условий эксплуатации |
Вероятность |
Назначенный срок службы |
Средний срок |
Гарантийный срок |
|
I |
0,95 за 40 000 часов |
5 лет |
10 лет |
5 лет |
|
II |
0,95 за 16 000 часов |
2 года |
4 года (6 лет)* |
2 года |
|
III |
0,95 за 8 000 часов |
1 год |
2 года |
1 год |
* - Увеличенный средний срок службы с вероятностью безотказной работы 0,6 за указанный период.
Пределы допускаемой основной погрешности для датчиков с унифицированным выходным сигналом постоянного тока 4-20 мА по ГОСТ 26.011 и цифровым сигналом по протоколу HART.
Выходной сигнал |
Условное |
Пределы |
Выходной |
Условное |
Пределы |
|
4-20мА |
AA3T25; А3T25 |
0,25% ·tn или 0,5 °С |
4-20мА |
AAxH25, AxH25 |
0,25% ·tn или 0,3°С |
|
B3T70 |
0,7% ·tn или 1,0°С |
AxH10, BxH10 |
0,1 % ·tn или 0,15 °С |
||
|
A3T40 |
0,4% ·tnили 0,5°С |
BxH70 |
0,7 % ·tnили 1,0 °С |
* - tn диапазон настройки измерительного преобразователя необходимо умножить на указанное значение в %. Выбрать большее значение.
** - «х» обозначает количество проводов в схеме подключения термометра сопротивления, х=3 или 4. Например АА4Н25 или B3H70.
Тип ТС |
Диаметр чехла, мм |
Материал чехла |
Группа |
Класс |
Температура |
Интервал между |
Средний срок службы |
|
ТСПТ |
10, 8 |
С10 |
I |
A, B, C |
– 50…+300 |
5 лет |
10 лет |
|
II |
– 50…+450 |
2 года |
4 года |
||||
|
III |
В, С |
– 50…+600 |
1 год |
2 года |
|||
|
10 |
С13 |
||||||
|
II |
АА |
– 30…+150 |
2 года |
4 года |
|||
|
III |
– 30…+250 |
1 год |
2 года |
Время термической реакции в зависимости от диаметра, сек
|
d = 8 |
d = 10 |
|
20 |
30 |
|
ТСПТ |
|
Exi |
107 |
— |
А |
21 |
— |
P100 |
— |
В |
3 |
Н10 |
— |
С10 |
— |
8 |
— |
L |
/ |
l |
|
G1/2 |
|
1 |
|
2 |
3 |
|
4 |
5 |
|
6 |
|
7 |
8 |
9 |
|
10 |
|
11 |
|
12 |
|
13 |
|
14 |
|
Поле |
Наименование |
Код |
Описание |
||||
|
1 |
Тип датчика |
ТСПТ |
Термометр сопротивления платиновый |
||||
|
2 |
Вид взрывозащиты |
Не заполнено |
электрооборудование общего назначения |
||||
|
Exi |
0ExiaIICT6 X, искробезопасная цепь по ГОСТ 30852.10-2002 |
||||||
|
Exd |
1ExdIICT6, взрывонепроницаемая оболочка по ГОСТ 30852.1-2002 |
||||||
|
3 |
Модификация |
107, 108 |
см. эскизы |
||||
|
4 |
Кабельный ввод |
0 |
штатный кабельный ввод клеммной головки |
||||
|
А |
под небронированный кабель в металлорукаве РЗЦХ-15 |
||||||
|
В |
под небронированный кабель в металлорукаве МРПИ-15 |
||||||
|
C |
под небронированный кабель в металлорукаве DN18 |
||||||
|
D |
под небронированный кабель в металлорукаве DN20 |
||||||
|
E |
под небронированный кабель в металлорукаве DN12 |
||||||
|
F |
под трубный монтаж с внутренней резьбой М20х1,5 |
||||||
|
G |
под трубный монтаж с выходом наружной резьбой G1/2 |
||||||
|
H |
под небронированный кабель диаметром 6,5÷14 мм |
||||||
|
I |
под небронированный кабель диаметром 3,2÷8,7 мм |
||||||
|
J |
под кабель диаметром внутренней/наружной оболочки: 6,1-11,7/9,5-15,9, бронированный однорядной проволочной броней |
||||||
|
К |
под кабель диаметром внутренней/наружной оболочки: 3,1-8,7 / 6,1-11,5, бронированный всеми типами брони |
||||||
|
L |
под кабель диаметром внутренней/наружной оболочки: 6,5-14 / 12,5-20,9, бронированный всеми типами брони |
||||||
|
5 |
Узел коммутации |
15; 16;17; 18; 19 |
алюминиевая головка |
IP66/IP68 |
1ExdIICT6 / 0ExiaIICT6 X |
||
|
20; 22 |
алюминиевая головка |
IP65 |
общего назначения |
||||
|
14; 21; 23; 24; 25; 26; 28 |
алюминиевая головка |
IP66 |
0ExiaIICT6 X или общ. назнач. |
||||
|
27 |
нержавеющая сталь |
IP66 |
0ExiaIICT6 или общ. назнач. |
||||
|
6 |
НСХ |
50М, 100М, 50П, 100П, Pt100,Pt500, Pt1000 |
НСХ в соответствии с ГОСТ 6651-2009 |
||||
|
7 |
Класс допуска |
АА, А, В, С |
Класс допуска по ГОСТ 6651-2009, |
||||
|
8 |
Схема соединения |
3, 4 |
3-х и 4-х проводная схема подключения. |
||||
|
9 |
Выходной сигнал, условное обозначение точности измерительного преобразователя см. табл.3 на стр. 6-3 |
Не заполнено |
аналоговый сигнал (Ом) в соответствии с НСХ |
||||
|
T25; T25 |
Для головок клеммных ≥14 |
4-20 мА |
для АА3 и А3 |
||||
|
T40 |
для А3 |
||||||
|
T70 |
для В3 |
||||||
|
H10, H10 |
4-20 мА +HART |
для А4, В4, А3, В3 |
индивидуальная |
||||
|
H25, H25 |
для АА4, А4, АА3, А3 |
||||||
|
H70 |
для В3, В4 |
||||||
|
10 |
Материал наружной оболочки кабеля |
С10 |
сталь 12Х18Н10Т |
||||
|
С13 |
сталь 10Х17Н13М2Т |
||||||
|
11 |
Наружный диаметр |
8 |
размер в мм по выбору Заказчика. |
С10 |
|||
|
10 |
С10, С13 |
||||||
|
12 |
Монтажная длинаL |
50÷3150 |
монтажная длина L до рабочего конца в мм |
||||
|
13 |
Размерот места уплотнения до головкиℓ |
Не заполнено |
если 120 мм или нет монтажных элементов |
||||
|
30÷500 |
указать размер в мм, если 120 мм не подходит |
||||||
|
14 |
Типоразмер штуцера |
Не заполнено |
если штуцер с резьбой М20х1,5 или отсутствует |
||||
|
Указать размер резьбы |
для всех остальных случаев |
||||||
|
|
ТСПТExi107–A21 –Pt100–А4Н10 – С10–8 – 250/100 |
||
|
Вид изделия |
ТСПТ |
Термометр сопротивления платиновый |
|
|
Взрывозащита |
Exi |
0ExiaIICT6 X |
|
|
Модификация |
101 |
С упорным кольцом |
|
|
Кабельный ввод |
А |
под РЗЦХ DN15 |
|
|
Коммутация (код головки) |
21 |
IP66 |
|
|
НСХ |
Pt100 |
|
|
|
Класс допуска и сх. подключения |
А4 |
класс А, сх. 4-х проводная |
|
|
Выходной сигнал (класс точности) |
Н10 |
4-20мА+ HART |
|
|
Материал защитной оболочки |
С10 |
сталь 12Х18Н10Т |
|
|
Диаметр рабочей части |
8 |
мм |
|
|
Длина монтажная L |
250 |
мм |
|
|
Длина до головкиℓ |
100 |
мм |
|
|
|
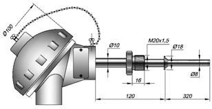
ТСПТ 107-025–2хPt100-В3Н70 – С13 - 8 – 320 |
||
|
Вид изделия |
ТСПТ |
термометр сопротивления платиновый |
|
|
Взрывозащита |
Exi |
0ExiaIICT6 X |
|
|
Модификация |
107 |
с упорным кольцом |
|
|
Кабельный ввод |
0 |
штатный |
|
|
Коммутация (код головки) |
25 |
IP66 |
|
|
НСХ |
2хPt100 |
двойной Pt100 |
|
|
Класс допуска и сх. подключения |
В3 |
класс В, сх.3-х проводная |
|
|
Выходной сигнал (класс точности) |
Н70 |
4-20мА + HART |
|
|
Материал защитной оболочки |
С13 |
сталь 10Х17Н13М2Т |
|
|
Диаметр рабочей части |
8 |
мм |
|
|
Длина монтажная L |
320 |
мм |
|
|
Длина до головкиℓ |
― |
120 мм |
|
|
|
|
|
|
|
|
ТСПТ 107-026–2хPt100-В3 – С10 - 8 – 80 |
||
|
Вид изделия |
ТСПТ |
термометр сопротивления платиновый |
|
|
Взрывозащита |
― |
общего назначения |
|
|
Модификация |
107 |
с упорным кольцом |
|
|
Кабельный ввод |
0 |
штатный |
|
|
Коммутация (код головки) |
26 |
IP66 |
|
|
НСХ |
Pt100 |
2 ЧЭ Pt100 |
|
|
Класс допуска и сх. подключения |
В3 |
класс В, сх.3-х проводная |
|
|
Выходной сигнал (класс точности) |
― |
аналоговый (Ом) |
|
|
Материал защитной оболочки |
С10 |
сталь 12Х18Н10Т |
|
|
Диаметр рабочей части |
8 |
мм |
|
|
Длина монтажная L |
80 |
мм |
|
|
Длина до головкиℓ |
― |
120 мм |
|
|
|
|
|
|



.jpg)
.jpg)
.jpg)